[Biturbo] Temperature Vacuum Switch

Décrivez votre problème...
Avatar de l’utilisateur
dd63
V6
Messages : 946
Inscription : mar. 20 oct. 2015 14:40
Localisation : 63

Re: [Biturbo] Temperature Vacuum Switch

Message par dd63 »

C'est bien ça la pompe à vide? Je l'ai découverte débranchée et effectivement elle ne s'arrête pas.

Image

et c'est différent sur la 424, pas de valve
Image
4.24v / Si 2500 / 222 SE
Avatar de l’utilisateur
Konimino2
W18
Messages : 10212
Inscription : mar. 25 avr. 2017 23:54
Localisation : 67

Re: [Biturbo] Temperature Vacuum Switch

Message par Konimino2 »

Ben elle devrait être là. Regarde les éclates. Peut être qu il n y a pas eu de canister de recyclage des vapeurs d’essence sur toutes. Tu dois avoir une fuite sur le circuit de dépression. Là il faut vérifier durite à durite. En commençant par celle qui alimente le tout. Sur la carbu, elle était fendu à l entrée. J ai coupé le bout et c’était bon.
Avatar de l’utilisateur
Dom3200
V8
Messages : 2163
Inscription : ven. 18 mars 2016 16:11
Localisation : 91
Localisation : Essonne

Re: [Biturbo] Temperature Vacuum Switch

Message par Dom3200 »

Je crois que je n en ai pas non plus sur la Racing, et je ne peux pas vérifier elle est dans sa grange... Pourtant j ai bien un brrr à la mise en route mais qui s arrête au bout de 5sec environ
3200 GT Juil 2001 / RACING Nov 1991
Avatar de l’utilisateur
Konimino2
W18
Messages : 10212
Inscription : mar. 25 avr. 2017 23:54
Localisation : 67

Re: [Biturbo] Temperature Vacuum Switch

Message par Konimino2 »

Dom3200 a écrit :Je crois que je n en ai pas non plus sur la Racing, et je ne peux pas vérifier elle est dans sa grange... Pourtant j ai bien un brrr à la mise en route mais qui s arrête au bout de 5sec environ

C est normal. La pompe met le circuit en dépression. Une fois que ça l’est, s il n y a pas de fuite. Elle s arrête.

Je l’ai sur la 222 4v ça serait étonnant que tu ne lais pas sur la racing.
Avatar de l’utilisateur
Dom3200
V8
Messages : 2163
Inscription : ven. 18 mars 2016 16:11
Localisation : 91
Localisation : Essonne

Re: [Biturbo] Temperature Vacuum Switch

Message par Dom3200 »

Le switch vert ?? Jamais vu j ai pourtant nettoyé chaque pièce une par une et je m en souviens pas. Le coin ressemble à la 4.24 de dd63.. On le voit sur cette photo, pas de switch
Image
3200 GT Juil 2001 / RACING Nov 1991
gemini
W16
Messages : 8766
Inscription : lun. 20 juin 2011 23:01
Localisation : Hainaut, Belgique

Re: [Biturbo] Temperature Vacuum Switch

Message par gemini »

Sur les 224 racing et apparentées, il ne semble pas y en avoir.
Quand on dit que ça sert à rien. :oops:
“What this button does is it turns carbon dioxide into noise.” J Clarkson
Merak - Biturbo SI - Shamal - Ghibli Cup 2800 - 3200GT AC - MC Victory
Avatar de l’utilisateur
Konimino2
W18
Messages : 10212
Inscription : mar. 25 avr. 2017 23:54
Localisation : 67

Re: [Biturbo] Temperature Vacuum Switch

Message par Konimino2 »

Hum ça m étonne je l ai sur la 222 4v
B89F9ED7-9CA0-4D5E-A8F2-EE0199E7587A.jpeg
Mais je n’avais jamais remarqué que la durite est coupée...
Avatar de l’utilisateur
Dom3200
V8
Messages : 2163
Inscription : ven. 18 mars 2016 16:11
Localisation : 91
Localisation : Essonne

Re: [Biturbo] Temperature Vacuum Switch

Message par Dom3200 »

Ouaou c est quoi l énorme champignon avec le tube bleu ?
3200 GT Juil 2001 / RACING Nov 1991
Avatar de l’utilisateur
Konimino2
W18
Messages : 10212
Inscription : mar. 25 avr. 2017 23:54
Localisation : 67

Re: [Biturbo] Temperature Vacuum Switch

Message par Konimino2 »

Dump valve japonaise.

Donc il y a eu sur les 224 et série 4 la sonde mais pas le canister. Il arrive avec la ghibli. Pourquoi l avoir installé si ce n est pas pour l utiliser.
38E66910-338C-4B49-8379-3273DDAA6BDE.gif
85297E6B-2E08-4C00-AE70-92065A129E4C.gif
Avatar de l’utilisateur
Dom3200
V8
Messages : 2163
Inscription : ven. 18 mars 2016 16:11
Localisation : 91
Localisation : Essonne

Re: [Biturbo] Temperature Vacuum Switch

Message par Dom3200 »

La pompe servirait à balancer les vapeurs directement dans l admission ? À l air libre ? Je pense qu il n y a pas de canister sur la racing, mais je ne suis jamais allé voir derrières les gardes boues.. Le système n est de toutes façons pas au top car il y a souvent une surpression au réservoir quand on l ouvre.
3200 GT Juil 2001 / RACING Nov 1991
Avatar de l’utilisateur
Konimino2
W18
Messages : 10212
Inscription : mar. 25 avr. 2017 23:54
Localisation : 67

Re: [Biturbo] Temperature Vacuum Switch

Message par Konimino2 »

Il me semble qu Alpa ou Maseralfa avait montré la mise à l air du réservoir. Mais je ne sais plus sur quel modèle. Je ne retrouve pas.

Ça doit être la...

Visiblement les normes anti pollution sont passées entre temps et donc canister. Mais je ne comprends pas bien la logique de prendre la température sur le retour du radiateur pour savoir s’il fait chaud ou pas, et donc declancher le recyclage des vapeurs d essence qui sont à l autre bout de la voiture...
6DB860EA-C5E7-4099-934C-44F3D4DE9730.jpeg
Avatar de l’utilisateur
dd63
V6
Messages : 946
Inscription : mar. 20 oct. 2015 14:40
Localisation : 63

Re: [Biturbo] Temperature Vacuum Switch

Message par dd63 »

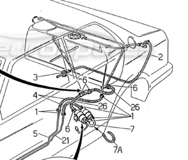
Salut sur la 430 j'ai ça sur le circuit de dépression, absent sur la 424. C'est commun aux 2L8 ou est ce une version Suisse ?
Image
Image
C'est une version cata, donc réel soucis écolo mais pas sur version Italiennes ? :roll: :lol:
4.24v / Si 2500 / 222 SE
Avatar de l’utilisateur
nice44
4 cylindres
Messages : 428
Inscription : jeu. 23 févr. 2017 11:44
Localisation : 44

Re: [Biturbo] Temperature Vacuum Switch

Message par nice44 »

Salut,

Je n'ai jamais vu cette pièce sur la 224v du moins à l'endroit indiqué et ailleurs je ne vois rien non plus ...
J'ai aussi la pompe à vide qui ne s'arrête jamais je l'ai donc débranchée
Au niveau du réservoir sous la baie pare brise un gros tuyau va dans le moteur sans doute entre autre vers la pompe à vide et le petit tuyau va vers l'habitacle

:Maze
Dyane, GS Spéciale, Opel Rekord 2.0E, Golf 2 1,6 carbu, Alfa 33 1.3, Mazda 323, Mazda 2, Bmw 325 ix, Audi GT Coupé, Bmw E21 323i, Mercedes 190E 2.3 16s, Bmw E39 535i, Porsche 944, Kawasaki EN500, GT750, Yamaha 1300 XJR,
Maserati 2.24v 91, Bmw Z3 coupé
Avatar de l’utilisateur
Konimino2
W18
Messages : 10212
Inscription : mar. 25 avr. 2017 23:54
Localisation : 67

Re: [Biturbo] Temperature Vacuum Switch

Message par Konimino2 »

dd63 a écrit :Salut sur la 430 j'ai ça sur le circuit de dépression, absent sur la 424. C'est commun aux 2L8 ou est ce une version Suisse ?

Image
C'est une version cata, donc réel soucis écolo mais pas sur version Italiennes ? :roll: :lol:
Intéressant de voir où va la durite

Mais je ne vois pas bien sur quoi elle est pluggee?
Avatar de l’utilisateur
Konimino2
W18
Messages : 10212
Inscription : mar. 25 avr. 2017 23:54
Localisation : 67

Re: [Biturbo] Temperature Vacuum Switch

Message par Konimino2 »

nice44 a écrit :Salut,

Je n'ai jamais vu cette pièce sur la 224v du moins à l'endroit indiqué et ailleurs je ne vois rien non plus ...
J'ai aussi la pompe à vide qui ne s'arrête jamais je l'ai donc débranchée
Au niveau du réservoir sous la baie pare brise un gros tuyau va dans le moteur sans doute entre autre vers la pompe à vide et le petit tuyau va vers l'habitacle

:Maze

Ben tu as une fuite sur ton circuit. Si tu arrête de produire du vide, tout ce qui fonctionne avec ne va plus le faire, non?
Avatar de l’utilisateur
nice44
4 cylindres
Messages : 428
Inscription : jeu. 23 févr. 2017 11:44
Localisation : 44

Re: [Biturbo] Temperature Vacuum Switch

Message par nice44 »

Sans doute mais comme c'est une véritable usine à gaz dans ce compartiment moteur j'essayerai de voir toutes ces durites quand il y aura plus de place une fois que tout sera prêt pour la distribution :Maze
Dyane, GS Spéciale, Opel Rekord 2.0E, Golf 2 1,6 carbu, Alfa 33 1.3, Mazda 323, Mazda 2, Bmw 325 ix, Audi GT Coupé, Bmw E21 323i, Mercedes 190E 2.3 16s, Bmw E39 535i, Porsche 944, Kawasaki EN500, GT750, Yamaha 1300 XJR,
Maserati 2.24v 91, Bmw Z3 coupé
Avatar de l’utilisateur
dd63
V6
Messages : 946
Inscription : mar. 20 oct. 2015 14:40
Localisation : 63

Re: [Biturbo] Temperature Vacuum Switch

Message par dd63 »

Konimino2 a écrit :
Intéressant de voir où va la durite

Mais je ne vois pas bien sur quoi elle est pluggee?
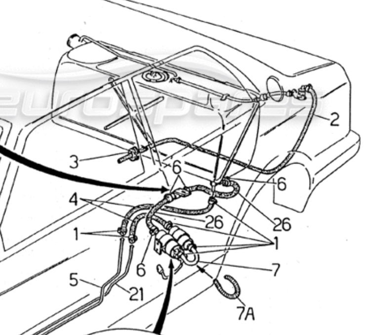
Sur le conteneur de vapeur (34 sur ton schéma de Ghibli) , le canister si j'ai bien compris .
Konimino2 a écrit :
nice44 a écrit :Salut,

Je n'ai jamais vu cette pièce sur la 224v du moins à l'endroit indiqué et ailleurs je ne vois rien non plus ...
J'ai aussi la pompe à vide qui ne s'arrête jamais je l'ai donc débranchée
Au niveau du réservoir sous la baie pare brise un gros tuyau va dans le moteur sans doute entre autre vers la pompe à vide et le petit tuyau va vers l'habitacle

:Maze

Ben tu as une fuite sur ton circuit. Si tu arrête de produire du vide, tout ce qui fonctionne avec ne va plus le faire, non?
Je sais pas vraiment sur quoi ça a une incidence mais celui de l'habitacle est raccordé au boitier allumage. Ca donne quoi comme info ?
Je voudrais bien aussi savoir pourquoi l'essence transite par une durite de clim...toujours sur ton schéma avant le régulateur de pression d'essence.
4.24v / Si 2500 / 222 SE
Avatar de l’utilisateur
Konimino2
W18
Messages : 10212
Inscription : mar. 25 avr. 2017 23:54
Localisation : 67

Re: [Biturbo] Temperature Vacuum Switch

Message par Konimino2 »

Je suis pas sûr de comprendre.

Le temperature vacuum switch, lorsque la temperature du retour du radiateur dépasse....(je ne sais pas combien) laisse passer la dépression, qui va commander la valve des vapeurs d essence en provenance du réservoir pour les réinjecter dans le plénum?
Avatar de l’utilisateur
dd63
V6
Messages : 946
Inscription : mar. 20 oct. 2015 14:40
Localisation : 63

Re: [Biturbo] Temperature Vacuum Switch

Message par dd63 »

Pour moi c'est bien ça.
4.24v / Si 2500 / 222 SE
Avatar de l’utilisateur
Konimino2
W18
Messages : 10212
Inscription : mar. 25 avr. 2017 23:54
Localisation : 67

Re: [Biturbo] Temperature Vacuum Switch

Message par Konimino2 »

Mon attention a été attirée sur cette sonde switch sur la 3200.
81102CC7-FEF1-4E96-BDB3-118D628A932C.jpeg
Comme vous pouvez le voir c est pas sur toutes.

Bref, si votre pompe à vide shadocke sur votre 3200, c est une piste.
Répondre