
et c'est différent sur la 424, pas de valve



Dom3200 a écrit :Je crois que je n en ai pas non plus sur la Racing, et je ne peux pas vérifier elle est dans sa grange... Pourtant j ai bien un brrr à la mise en route mais qui s arrête au bout de 5sec environ



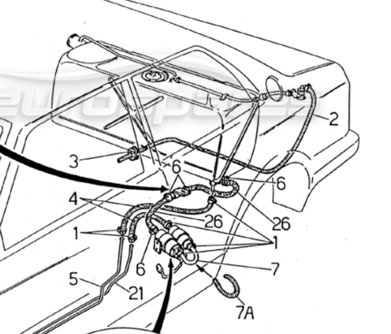
Intéressant de voir où va la durite
nice44 a écrit :Salut,
Je n'ai jamais vu cette pièce sur la 224v du moins à l'endroit indiqué et ailleurs je ne vois rien non plus ...
J'ai aussi la pompe à vide qui ne s'arrête jamais je l'ai donc débranchée
Au niveau du réservoir sous la baie pare brise un gros tuyau va dans le moteur sans doute entre autre vers la pompe à vide et le petit tuyau va vers l'habitacle
Sur le conteneur de vapeur (34 sur ton schéma de Ghibli) , le canister si j'ai bien compris .Konimino2 a écrit :
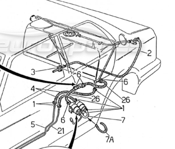
Intéressant de voir où va la durite
Mais je ne vois pas bien sur quoi elle est pluggee?
Je sais pas vraiment sur quoi ça a une incidence mais celui de l'habitacle est raccordé au boitier allumage. Ca donne quoi comme info ?Konimino2 a écrit :nice44 a écrit :Salut,
Je n'ai jamais vu cette pièce sur la 224v du moins à l'endroit indiqué et ailleurs je ne vois rien non plus ...
J'ai aussi la pompe à vide qui ne s'arrête jamais je l'ai donc débranchée
Au niveau du réservoir sous la baie pare brise un gros tuyau va dans le moteur sans doute entre autre vers la pompe à vide et le petit tuyau va vers l'habitacle
Ben tu as une fuite sur ton circuit. Si tu arrête de produire du vide, tout ce qui fonctionne avec ne va plus le faire, non?